Ketten-Verstärker
Ketten-Verstärker
Breitbandverstärker waren mit Röhren schwierig zu bauen. Das liegt insbesondere an der verhältnismäßig geringen Steilheit S der Röhren im Verhältnis zu deren Kapazität C = Ce + Ca, wodurch die obere Grenzfrequenz in einer Breitbandverstärkerschaltung bestimmt wird. Röhren haben ein geringes Verhältnis von S/C -- im Gegensatz zu Transistoren, die sehr viel steiler sind.
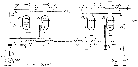
Als Ausweg wurden Breitbandverstärker in Röhrentechnik als Ketten-Verstärker gebaut, wobei die Röhren-Ketten auf der Gitterseite und auf der Anodenseite über Spulen verbunden waren. Damit ließen sich diese Kapazitäten zusammen mit den Spulen zu Verzögerungs-Leitungen vereinigen.

Die Analyse eines Kettenverstärkers findet sich in "Zinke, O.; Brunswig, H.: Lehrbuch der Hochfrequenztechnik, 1.A., Springer, 1965". In der 2. Auflage dieses Werkes ist der Kettenverstärker nicht mehr zu finden. Da war die Technik schon weiter.
Im Anhang ist der Abschnitt über den Kettenverstärker aus der 1. Auflage digitalisiert. (Da in diesem Abschnitt einige Formeln vorkommen, konnte der Text nicht im Editor geschrieben werden, sondern ist als pdf angefügt.)
Das Kapitel "Kettenverstärker"
MfG DR
Für diesen Post bedanken, weil hilfreich und/oder fachlich fundiert.