Phonola 519 Ultraconverto - indicatore di sintonia

ID: 283959
Questo articolo si riferisce al modello: Ultraconverto 519 4 gamme (Phonola SA, FIMI; Saronno (VA))

Phonola 519 Ultraconverto - indicatore di sintonia 
02.Apr.12 23:10
63

Ignazio Barba (I)
Articoli: 4
Nr. ringraziamenti: 11

Salve a tutti!

Ho riattivato la radio in oggetto con molte difficoltà,essendo stata gravemente manomessa. Il problema è il seguente:l'indicatore di sintonia al neon (fra l'altro trattato nel sito in lingua tedesca) è piuttosto inattivo, presenta,col solo rumore di fondo,un tratto luminoso di circa 2 cm,in buona parte nascosto dalla cornice della scala.Quando si sintonizza una stazione,la luce ha un guizzo istantaneo di alcuni cm,per poi tornare al valore iniziale.Scorrendo la scala di sintonia, l'indicatore è praticamente immobile e poco visibile.I componenti circuitali relativi sono stati verificati e in ordine.La tensione del bus alta tensione è 260 V e raggiunge l'elettrodo di accensione attraverso i 4 Mohm previsti, mentre la tensione anodica che pilota attraverso i 40 kOhm l'anodo principale è la metà (130 V) a causa della caduta sui 15 kOhm di R4 dei circa 8 mA della corrente anodica.Mi aspettavo che,come tutti gli indicatori,la barretta luminosa aumentasse proporzionalmente al segnale,cosa che non avviene.Qualcuno in possesso di questo modello funzionante potrebbe darmi informazioni sul funzionamento corretto del suddetto indicatore? Grazie

Ringrazia l'autore se ritieni l'articolo interessante o ben scritto.

 2
indicatore di sintonia 
06.Apr.12 17:36
63 from 4977

Pasquale Baiocato (I)
Articoli: 29
Nr. ringraziamenti: 17

Salve sig. IGNAZIO, troverai cio' che serve alla pagina relativa al modello: ID=30664,nello schema c'e' anche la cordina,buona fortuna,saluti PASQUALE B.

Ringrazia l'autore se ritieni l'articolo interessante o ben scritto.

 3
Phonola 519 Ultraconverto - indicatore di sintonia  
06.Apr.12 19:33
70 from 4977

Ignazio Barba (I)
Articoli: 4
Nr. ringraziamenti: 13

La ringrazio molto dell'informazione.Lo schema però non è sufficiente a fornire una risposta esauriente al mio quesito che riguarda il funzionamento specifico dell'indicatore di sintonia al neon,

Cordiali saluti e auguri, Ignazio

Ringrazia l'autore se ritieni l'articolo interessante o ben scritto.

 4
L'indicatore ottico di sintonia 
11.Apr.12 13:23
124 from 4977

Biagio Laureti (I)
Articoli: 163
Nr. ringraziamenti: 11
Biagio Laureti

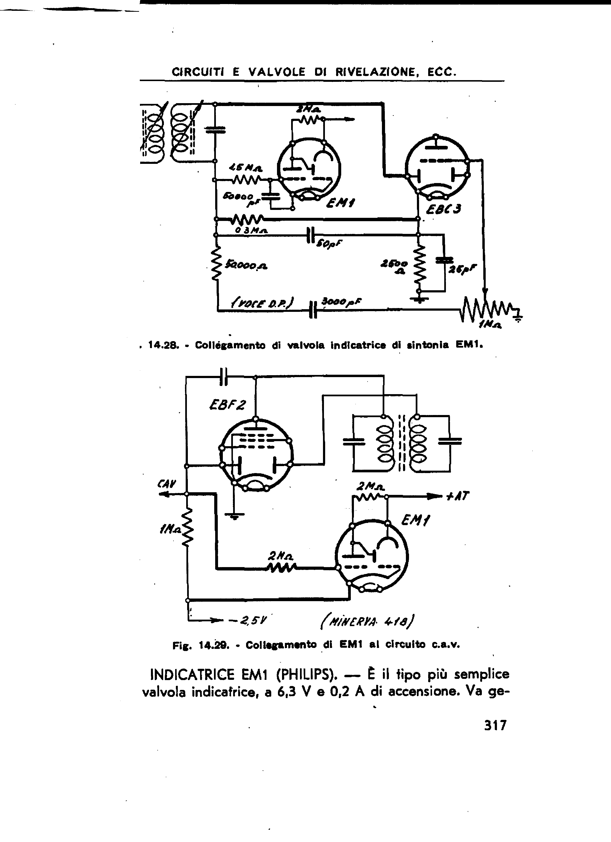
Ti trasmetto copia del capitolo relativo all'indicatore di sintonia del Ravalico - RADIOELEMENTI 1953, spero di essere stato esaustivo.
Saluti Biagio

Allegati:

Ringrazia l'autore se ritieni l'articolo interessante o ben scritto.

 5
L'indicatore ottico di sintonia  
11.Apr.12 19:04
137 from 4977

Ignazio Barba (I)
Articoli: 4
Nr. ringraziamenti: 14

Ti ringrazio caldamente per la cortesia.Ritengo di trovare nei RADIOELEMENTI i chiarimenti che desidero.Ho peraltro avuto informazioni riguardanti l'argomento da un possessore della 519 e pare che quello da me rilevato e segnalato sia il normale comportamento:l'indicatore effettua il rilevamento per poi tornare all'elongazione iniziale.Modalità a me sconosciuta,ma probabilmente dovuta all'intervento del CAG che ripristina il valore stazionaro della corrente anodica nella prima EF9 amplificatrice RF.

Grazie ancora,cordialmente, Ignazio 

Ringrazia l'autore se ritieni l'articolo interessante o ben scritto.

 6
indicatore a gas 
17.Apr.12 20:57
184 from 4977

Antonio Maida (I)
Articoli: 117
Nr. ringraziamenti: 12
Antonio Maida

Salve a tutti, non credo che  il funzionamento descritto sull'indicatore a gas sia quello corretto. Nel mio Phonola 901  (il radioconverto con la scala a film),  qundo si accende, dopo alcuni secondi, si illumina per tutta la lunghezza per poi tornare alla lunghezza minima. Quando si sintonizza una stazione, a secondo dell'intensità del segnle, aumenta la liunghezza e così rimane finchè si rimane in sintonia.

Saluti   Antonio

 

Ringrazia l'autore se ritieni l'articolo interessante o ben scritto.

 7
L'indicatore ottico di sintonia  
17.Apr.12 23:56
192 from 4977

Ignazio Barba (I)
Articoli: 4
Nr. ringraziamenti: 12

Grazie Antonio,sembra molto più logica la tua constatazione delle mie deduzioni che,ahimè,si infrangono facendomi regredire alla mia domanda iniziale:essendo tutti i componenti verificati e provati ben 2 indicatori,come si spiega l'anomalia,fra l'altro confermata da un altro possessore di 519 che fa anche il riparatore?Torno a chiedere aiuto ai possessori di questo glorioso radioricevitore.Sarebbe interessante un commento d Alessandro De Poi.

Grazie e saluti, Ignazio

Ringrazia l'autore se ritieni l'articolo interessante o ben scritto.