stern-roch: Türkis - UKW Tuner ??

ID: 45129
stern-roch: Türkis - UKW Tuner ?? 
04.Mar.05 15:15
0

Jens Dehne (D)
Redakteur
Beiträge: 594
Anzahl Danke: 23


Hallo Radiofreunde,

In den 60er Jahren erfolgte als ein Ergebnis der Planwirtschaft in der DDR eine umfassende Rationalisierung der Produktion.

Auch auf die Radiofertigung wirkten sich die Maßnahmen aus, indem standardisierte Baugruppen an zentraler Stelle wie vom Zentrallaboratorium für Rundfunk- und Fernsehempfangstechnik - kurz ZRF - entwickelt wurden und dann von den Herstellern eines Kombinates verwendet wurden.

Der UKW - Tuner des "Türkis" wurde auch in anderen Geräten, wie bspw. Von REMA eingesetzt.

Wo wurde dieser UKW - Tuner entwickelt und produziert?

Hier Ansichten der Baugruppe:





Ich freue mich auf informative Antworten und grüße aus Erfurt!

Jens Dehne

Für diesen Post bedanken, weil hilfreich und/oder fachlich fundiert.

 2
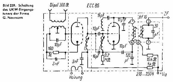
Firma G. Neumann stellte auch UKW Tuner her 
06.Mar.05 15:19

Jens Dehne (D)
Redakteur
Beiträge: 594
Anzahl Danke: 18

Matthias Hasenmayer meldete sich bei mir mit folgenden Informationen:

Als Firma, die in der DDR die so genannten "Einheitstuner" herstellten, ist mir die Firma "G. Neumann" geläufig. Im Anhang habe ich ein Schaltbild des "Neumann-UKW-Eingangsteiles" mit der Bezeichnung "U4" beigefügt. Gleichwohl noch eine kurze Beschreibung zum Tuner "U4". (Quelle: "Das große Radio Bastelbuch" von K.H.Schubert zweite Auflage Nov. 1962).

Anbei noch eine Werbeanonce der Firma, allerdings von 1972. Da auch zu dieser Zeit in der DDR die Rundfunkgeräte volltransistorisiert waren, gehe ich davon aus, das die Firma "G.Neumann" sich auf Transformatoren und Übertrager spezialisiert hat.

Viele Grüße

Matthias Hasenmayer







Vielen Dank!
Jens Dehne



Zum Tuner:

Für diesen Post bedanken, weil hilfreich und/oder fachlich fundiert.

 3
UKW-Tuner aus Blankenburg 
06.Mar.05 21:12

Wolfgang Eckardt (D)
Ratsmitglied
Beiträge: 1907
Anzahl Danke: 14
Wolfgang Eckardt

Hallo Herr Dehne,

bei dem gezeigten Tuner handelt es sich um den Standard-UKW-Tuner aus Bad Blankenburg (Antennenwerke), der dort entwickelt und gebaut wurde (Chefkonstrukteur Reinhard). Wenn ich mich recht erinnere (ich habe gerade keinen Tuner davon greifbar), müsste im Alu-Deckel das Logo (so sagt man wohl heute) vom Antennenwerk Bad Blankenburg eingeprägt sein. 

In der Zeitschrift "radio fernsehen elektronik" Heft 23/1961 sind Abbildungen davon und auch die damalige "Typisierung" wird am Modell "Oberon" erläutert.

Bei den Neumann-Tunern verhält es sich aber anders. Die U4 und U5 haben induktive Abstimmung und sind m.E. nie als Standard-Tuner bei RFT in großem Umfang verwendet worden. Ihre Produktion erfolgte bereits ab etwa 1957 (U4) und die ECC85 (UCC85) wurde verwendet. Sonneberg verwendete den so genannten "Fahrstuhltuner" und Rema den UB1.
Der legendäre Vorläufer U3 verwandte noch Octalröhren (6AC7), die dann beim U3a durch EF80 ersetzt wurden. Abgestimmt wurde mit einem ziemlich wuchtigen Doppel-Drehko aus Schalkau.
Hier noch zwei Bilder vom U4 und U5 (geöffnet).





Beste Grüße nach Erfurt
Wolfgang Eckardt

Für diesen Post bedanken, weil hilfreich und/oder fachlich fundiert.

 4
Antennenwerke Bad Blankenburg? 
06.Mar.05 23:19

Jens Dehne (D)
Redakteur
Beiträge: 594
Anzahl Danke: 24


Hallo Herr Eckardt,

danke auch für die vielen Informationen!

Nun, mir war auch schon aufgefallen, dass zumindest die o.g. Schaltung induktiv abstimmt und in meinem Tuner durch den niedlichen "Schalkau- Drehkondensator" abgestimmt wird.

Ich habe hier eine "UKW - Vitrine" mit Tunern und Vorsetzern meiner Radio - Geschichte. So gibt es noch ein paar weiße Flecke. 

Sollte dieser Kreis im Deckel das "Blankenburg-Logo" sein ? Die hatten doch so ein "Antennenhäuschen" ? Ansonsten hat dieses Teil kein weiteres Herkunftsmerkmal, nur ein Stempel mit Frequenzbereich. Bei Gelegenheit schaue ich mal in andere Geräte und reiche dann Fakten nach.

Viele Grüße zurück nach Jena!

Jens Dehne

Für diesen Post bedanken, weil hilfreich und/oder fachlich fundiert.

 5
Modellvarianten? 
24.May.08 09:56

Ernst Erb (CH)
Ratsmitglied
Beiträge: 5751
Anzahl Danke: 13
Ernst Erb

Die DDR-Zeitschrift "radio und fernsehen" Nr. 19 vom Oktober 1961 zeigt auf Seite 615 das Gerät schon mit einem modernen Gehäuse. Das Gerät wird dort erstmals als "Nachfolgetyp des bekannten und bewährten Mittelsupers "Juwel" ..." vorgestellt. Nun frage ich mich, von wo die  Information stammt: es gäbe auch eine alte Gehäusevariante dieses "neuen Standardmittelsupers unterer Preisklasse".

Falls das stimmt, sollten wir ein weiteres Modell anlegen und beide mit Variante (z.B. Gehäuse alt, Gehäuse neu) belegen. Falls es nicht stimmt, sollten wir die Quelle dieser Information angeben und auf obige Fakten bzw. den Thread verweisen.

Jedenfalls ist dieser Thread eine ausserordentliche Bereicherung für dieses Modell.

Für diesen Post bedanken, weil hilfreich und/oder fachlich fundiert.